

RX型垫片
RX型RTJ环垫圈制造符合API 6A和ASME B16.20标准,适合API 6 B和ASME / ANSI B16.5法兰。
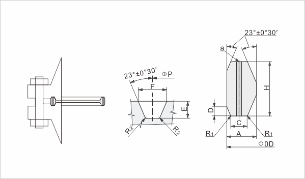
RX型是一个压力能量适应的标准R型垫圈。RX型的设计以适应同一个标准的R槽设计,使得接合互换。修改后的设计使用压力能量影响,提高了系统内部压力,增加密封的效率。
压力:2000 – 5000 PSI
公差:(mm)
A *(环的宽度)
+ 0.20,-0.000
h(环的高度)
+ 0.20,-0.000
外径(外径)
+ 0.5,-0.000
23 *(角)
1/2°
*宽度公差为0.008英寸。
“A”和高度“H”是允许的,只要宽度或高度的变化在整个圆周上不超过0.004英寸。
注 1:
压力通道孔说明在环式接头截面保证均衡的压力可能会被困在槽,它是在环rx82通过rx91只。孔的中心线应位于“C”(宽平)的中点。孔直径应为A。
<td width=”71″ style=”border-color: rg
| 环号 | PRESSLURE ALASSES, API 6B | 中心径 P | 外直径 0D | 环宽 A | 环高 H | 重量 Ibs. | |||
| 720-960and 2000[Note(1)] | 2900[Note(1)] | 3000 | 5000 | ||||||
| Rx20 | 1 1/2 | – | 1 1/2 | 1 1/2 | 68.26 | 76.20 | 8.73 | 19.05 | 0.527 |
| Rx23 | 2 | – | – | – | 82.55 | 93.27 | 11.91 | 25.40 | 1.15 |
| Rx24 | – | – | 2 | 2 | 95.25 | 105.97 | 11.91 | 25.40 | 1.33 |
| Rx25 | – | – | – | 3 1/8 | 101.60 | 109.54 | 8.73 | 19.05 | 1.42 |
| Rx26 | 2 1/2 | – | – | – | 101.60 | 111.92 | 11.91 | 25.40 | 1.50 |
| Rx27 | – | – | 2 1/2 | 2 1/2 | 107.95 | 118.27 | 11.91 | 25.40 | 1.73 |
| Rx31 | 3 | – | 3 | – | 123.83 | 134.54 | 11.91 | 25.40 | 1.91 |
| Rx35 | – | – | – | 3 | 136.53 | 147.24 | 11.91 | 25.40 | 2.09 |
| Rx37 | 4 | – | 4 | – | 149.23 | 159.94 | 11.91 | 25.40 | 2.27 |
| Rx39 | – | – | – | 4 | 161.93 | 172.64 | 11.91 | 25.40 | 2.54 |
| Rx41 | 5 | – | 5 | – | 180.98 | 191.69 | 11.91 | 25.40 | 2.72 |
| Rx44 | – | – | – | 5 | 193.68 | 204.39 | 11.91 | 25.40 | 2.96 |
| Rx45 | 6 | – | 6 | – | 211.14 | 281.85 | 11.91 | 25.40 | 3.66 |
| Rx46 | – | – | – | 6 | 211.14 | 222.25 | 13.49 | 28.58 | 8.56 |
| Rx47 | – | – | – | 8(2) | 228.60 | 245.27 | 19.84 | 41.28 | 3.79 |
| Rx49 | 8 | – | 8 | – | 269.88 | 280.59 | 11.91 | 25.40 | 5.36 |
| Rx50 | – | – | – | 8 | 269.88 | 283.37 | 16.67 | 31.75 | 4.56 |
| Rx53 | 10 | – | 10 | – | 323.85 | 334.57 | 11.91 | 25.40 | 6.45 |
| Rx54 | – | – | – | 10 | 323.85 | 337.34 | 16.67 | 31.75 | 5.36 |
| Rx57 | 12 | – | 12 | – | 381.00 | 391.72 | 11.91 | 25.40 | 26.40 |
| Rx63 | – | – | – | 14 | 419.10 | 441.72 | 26.99 | 50.80 | 6.63 |
| Rx65 | 16 | – | – | – | 469.90 | 480.62 | 11.91 | 25.40 | 9.39 |
| Rx66 | – | – | 16 | – | 469.90 | 483.39 | 16.67 | 31.75 | 7.52 |
| Rx69 | 18 | – | – | – | 533.40 | 544.12 | 11.91 | 25.40 | 20.14 |
| Rx70 | – | – | 18 | – | 533.40 | 550.07 | 19.84 | 41.28 | 11.63 |
| Rx73 | 20 | – | – | – | 584.20 | 596.11 | 13.49 | 31.75 | 22.10 |
| Rx74 | – | – | 20 | – | 584.20 | 600.87 | 19.84 | 41.28 | 0.790 |
| Rx82 | – | 1 | – | – | 57.15 | 67.87 | 11.91 | 25.40 | 0.880 |
| Rx84 | – | 1 1/2 | – | – | 63.50 | 74.22 | 11.91 | 25.40 | 0.880 |
#ring joint gasket # metal ring joint #ring sealing # rtj sealing #metal seling #vavle part
